QR kod
Ürünler
Bize Ulaşın


Faks
+86-574-87168065

e-posta

Adres
Luotuo Sanayi Bölgesi, Zhenhai Bölgesi, Ningbo Şehri, Çin
Tüm vardiya boyunca metal üreten çelik haddeleme tesisleri, tonlarca malzeme kaldıran vinçler veya yeraltındaki toz ve basınçla mücadele eden madencilik ekipmanları gibi ağır makineler çalıştırıyorsanız, sizi yarı yolda bırakmayacak bir kaplin gerekir. Raydafon'un SWC-BH Standart Esnek Kaynak Tipi Üniversal Kaplin tam olarak bunun için üretilmiştir: iş zorlaştığında bile güvenilir tork iletimi.
Öncelikle tasarımından bahsedelim. Kaynaklı boyunduruk yalnızca bir özellik değil, aynı zamanda oyunun kurallarını değiştiren bir şeydir. Zamanla gevşeyebilen cıvatalı boyundurukların aksine, bu, sağlam bir şekilde kaynaklanmıştır, dolayısıyla makineleriniz yoğun çalışırken parçaların sallanması riski yoktur. Ayrıca 180 mm'den 620 mm'ye kadar dönme çaplarıyla çeşitli kurulumlara da uyar; hiçbirine uymayan tek beden seçeneği aramaya gerek yoktur. Standart bir esnek üniversal kaplin olarak, 15 dereceye kadar açısal yanlış hizalamanın üstesinden gelir; bu, şaftlarınız mükemmel şekilde hizalanmasa bile (ve gerçek olalım, nadiren öyledir), gücün hareket halinde kalmasını sağladığı anlamına gelir. Tork 1250 kN·m'ye (ciddi güç) ulaştığında bile sabit kalır, takılma veya düşme olmaz.
Malzemelerden de tasarruf etmedik. Bu şey 35CrMo çeliğinden yapılmıştır; bu yüksek mukavemetli malzeme, madende çarpıldığında veya haddehanenin yakınında ısıtıldığında bile aşınmaya karşı dayanıklıdır. Ayrıca, düzgün hareket etmesi, sürtünmeyi azaltması ve daha ucuz kaplinlerden çok daha uzun süre dayanması için hassas iğneli rulmanlar kullandık. Bu nedenle ağır makineler için üniversal kaplinler tercih edilir; yalnızca birkaç hafta çalışmaz; ekipmanınızın çalışır durumda kalmasını sağlar. Endüstriyel uygulamalar için kaynaklı üniversal kaplinlere mi ihtiyacınız var? İşte bu; kaynaklı tasarım, titreşimi ve gerilimi cıvatalı alternatiflere göre daha iyi yönetir, böylece tamir etmeye daha az, çalışmaya daha fazla zaman harcarsınız.
Raydafon olarak bunları Çin'de üretiyoruz ancak kalite konusunda taviz vermiyoruz. Her adım ISO 9001 standartlarını takip ediyor; çeliği kontrol ediyoruz, kaynakları inceliyoruz, rulmanları test ediyoruz; böylece küresel kalite kurallarına uygun bir kaplin aldığınızı bilirsiniz. Peki kurulumunuz biraz farklıysa? Boyutu ayarlamak, özelliklerde ince ayarlar yapmak gibi ihtiyacınız olan her şeyi uygun hale getirmek için özel ayarlamalar yapıyoruz. En iyi kısım? Lüks bir parça gibi fiyatlandırılmıyor. Bir servet ödemeden, çok çalışan, dayanıklı, evrensel bir kavrama elde edersiniz. Arıza süresini göze alamayanlar için bu SWC-BH kaplini, makinenizin her gün hareket etmesini sağlayan güvenilir bir parçadır.
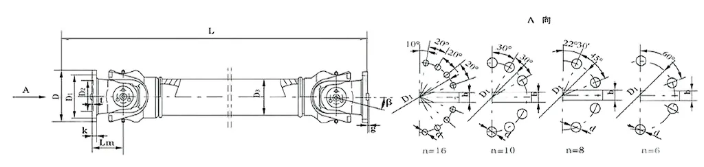
| HAYIR. | Dönme çapı D mm | Nominal tork Tn KN·m | Eksen katlama açısı β (°) | Yorucu tork TF KN·m | Boyut (mm) | Dönen atalet kg.m2 | Ağırlık (kg) | |||||||||||
| L dk. | D1 (js11) | D2 (H7) | D3 | Lm | yok | k | t | b (h9) | g | L dk. | Arttırmak 100 mm | L dk. | Arttırmak 100 mm | |||||
| SWC100WH | 100 | 1.25 | 0.63 | 25° | 243 | 84 | 57 | 60 | 55 | 6-9 | 7 | 2.5 | - | - | 0.0039 | 0.00019 | 4.5 | 0.35 |
| SWC120WH | 120 | 2.5 | 1.25 | 25° | 307 | 102 | 75 | 70 | 65 | 8-11 | 8 | 2.5 | - | - | 0.0096 | 0.00044 | 7.7 | 0.55 |
| SWC150WH | 150 | 5 | 25 | 25° | 350 | 130 | 90 | 89 | 80 | 8-13 | 10 | 3 | - | - | 0.371 | 0.00157 | 18 | 24.5 |
| SWC180WH | 180 | 12.5 | 6.3 | 25° | 180 | 155 | 105 | 114 | 110 | 8-17 | 17 | 5 | - | - | 0.15 | 0.007 | 48 | 2.8 |
| SWC225WH | 225 | 40 | 20 | 15° | 520 | 196 | 135 | 152 | 120 | 8-17 | 20 | 5 | 32 | 9 | 0.365 | 0.0234 | 78 | 4.9 |
| SWC250WH | 250 | 63 | 31.5 | 15° | 620 | 218 | 150 | 168 | 140 | 8-19 | 25 | 6 | 40 | 12.5 | 0.817 | 0.0277 | 124 | 5.3 |
| SWC285WH | 285 | 90 | 45 | 15° | 720 | 245 | 170 | 194 | 160 | 8-21 | 27 | 7 | 40 | 15 | 1.756 | 0.051 | 185 | 6.3 |
| SWC315WH | 315 | 125 | 63 | 15° | 805 | 280 | 185 | 219 | 219 | 10-23 | 32 | 8 | 40 | 15 | 2.893 | 0.0795 | 262 | 8 |
| SWC350WH | 350 | 180 | 90 | 15° | 875 | 310 | 210 | 267 | 194 | 10-23 | 35 | 8 | 50 | 16 | 5.013 | 0.2219 | 374 | 15 |
| SWC390WH | 390 | 250 | 125 | 15° | 955 | 345 | 235 | 267 | 215 | 10-25 | 40 | 8 | 70 | 18 | 8.406 | 0.2219 | 506 | 15 |
| SWC440WH | 440 | 355 | 180 | 15° | 1155 | 390 | 255 | 325 | 260 | 16-28 | 42 | 10 | 80 | 20 | 15.79 | 0.4744 | 790 | 21.7 |
| SWC490WH | 490 | 500 | 250 | 15° | 1205 | 435 | 275 | 325 | 270 | 16-31 | 47 | 12 | 90 | 22.5 | 26.54 | 0.4744 | 1014 | 21.7 |
| SWC550WH | 550 | 710 | 355 | 15° | 1355 | 492 | 320 | 426 | 325 | 16-31 | 50 | 12 | 100 | 22.5 | 48.32 | 1.357 | 1526 | 34 |
İşinizi yavaşlatan veya en çok ihtiyaç duyduğunuz anda bozulan titiz kaplinlerle uğraşmaktan sıkıldıysanız, Raydafon'un SWC-WH Esnek Kaynaksız Tip Üniversal Kaplini ezber bozan bir çözümdür. Mekanik sistemlerde sorunsuz tork aktarımına ihtiyaç duyan herkes için onu en iyi seçim haline getiren avantajlarla doludur; kafa karıştırıcı kaynak adımları yok, yalnızca iş akışınıza tam olarak uyan sağlam performans.
Öncelikle bu şeyi kurmak düşündüğünüzden çok daha kolaydır. Sizi ekstra alet getirmeye veya kaynakların sertleşmesini beklemeye zorlayan kaynaklı kaplinlerin aksine, SWC-WH cıvata bağlantılı bir tasarım kullanır. Bunu mevcut kurulumunuza hızlı bir şekilde ve bakım zamanı geldiğinde yerleştirebilirsiniz. Parçalara ayırmak çocuk oyuncağı olduğundan endüstriyel donanımınız boşta daha az zaman harcar. İşte bu yüzden çok yönlü, yüksek torklu, üniversal mafsallı bir kaplin; kesinti süresinde baş ağrısı yok, sadece içeri girin, ihtiyacınız olanı düzeltin ve işinize geri dönün.
Dayanıklılık açısından, bunu aşmak için tasarlandı. Büyük yükleri ve sabit titreşimleri korkmadan kaldırabilen ağır hizmet malzemeleri kullanıyoruz; ekipmanın asla ara vermediği yoğun endüstriyel alanlar için mükemmel. Ve kaynak olmadığından, kaynaklar zamanla aşındığında ortaya çıkan zayıf noktalar konusunda endişelenmenize gerek yok. Bu birkaç ayda bir değiştirilmesi gereken bir kaplin değil; endüstriyel makinelere yönelik, operasyonlarınızı istikrarlı tutan, güvenilir bir üniversal mafsal kaplinidir.
Yanlış hizalamalar mı? Sorun değil. Özellikle otomotiv veya ulaşım sistemlerinde miller hiçbir zaman mükemmel şekilde hizalı kalmaz, ancak SWC-WH açısal, eksenel ve radyal sapmaları bir profesyonel gibi yönetir. Hizalama bozulduğunda bile gücün sorunsuz bir şekilde hareket etmesini sağlayan türde tahrik mili üniversal mafsal kaplini; sarsıntı yok, düşme yok, sadece tutarlı performans.
Ve hadi maliyetten konuşalım. Kaynak, ekstra işçilik ve malzeme ücreti ekler ancak bu bağlantı tüm bunları atlar. Fazla harcama yapmadan kaliteli bir ürün elde edersiniz, bu da her bütçe için büyük bir kazançtır. Korozyonun sürekli bir tehdit oluşturduğu denizcilik kurulumları gibi zor noktalarda bile, güvenilir bir evrensel deniz bağlantı kaplini olarak varlığını sürdürür; tuzlu suya karşı dayanıklıdır, cüzdanınızı yormaz.
Eğer yenilenebilir enerjiyle ilgileniyorsanız, bu bağlantı da tam size göre. Gücü neredeyse hiç atık olmadan verimli bir şekilde aktaran, yenilenebilir enerji ekipmanlarına yönelik sağlam bir evrensel mafsal kaplinidir. Ayrıca hafiftir, dolayısıyla sisteminize ağırlık yapmaz; performanstan ödün vermeden işlerin sürdürülebilir şekilde çalışmasını sağlamak için idealdir.
Raydafon'da sadece kaplin satmıyoruz; ihtiyaçlarınıza uygun kaplinler üretiyoruz. SWC-WH özelleştirilebilir olduğundan tam olarak istediğiniz şekilde çalışır. Operasyonlarınızı nasıl daha sorunsuz hale getirebileceğini merak ediyorsanız ekibimize başvurmanız yeterli. Size bu konuda yol göstereceğiz, jargon yok; yalnızca bu eşleşmenin sizin için neler yapabileceği hakkında doğrudan konuşun.
Raydafon'un SWC-WH Esnek Kaynaksız Tip Üniversal Kaplini, kardan bağlantı mekaniğinin temel bilgi birikiminden yararlanır; ancak endüstriyel işlerde daha sert sonuçlar verecek şekilde ayarladık. Bütün mesele? Kusursuz şekilde sıralanmayan iki şaft arasında, açılı olsalar bile torkun sorunsuz şekilde hareket etmesini sağlayın. Amaca yönelik bir SWC kardan mili üniversal mafsal kaplini olarak, dönme gücünün sabit akışını sağlamak için ortada çapraz şekilli bir parça kullanır; haddehaneler veya kaldırma makineleri gibi zorlu işler için bu kadar yüksek torklu üniversal mafsal kaplini olmasının nedeni tam olarak budur.
Nasıl çalıştığının esasını inceleyelim: iki çatallı boyunduruk vardır ve bunlar merkezi bir haçla birbirine bağlanır (biz buna örümcek diyoruz). Bu kurulum, boyundurukların birden fazla yönde dönmesine olanak tanır; böylece şaftlar 25°'ye kadar kaydırılsa bile (maksimum eksen katlanma açısı budur), tork yine de eşit şekilde iletilir. Bunu destekleyecek özellikleri de var: dönme çapları φ58 ile φ620 arasında değişir ve 0,15 ile 1000 kN·m arasındaki nominal torku idare eder. Bunu haddehane operasyonları için ağır hizmet tipi üniversal mafsal kaplini olarak kullandığınızda, bu tasarım, giriş dönüşünün herhangi bir aksaklık olmadan çıkış hareketine dönüştüğü anlamına gelir; bu mafsallı mafsallar, herhangi bir kesinti olmaksızın yanlış hizalamaları telafi etmek için kendi başlarına dönerler.
“Esnek kaynaksız” kısmını önemli kılan nedir? Kaynakları cıvatalı veya kelepçeli bağlantılar için değiştirdik. Kaynaklar zamanla zayıf noktalar haline gelebilir, ancak bu bağlantı elemanları arıza risklerini azaltır ve kaplinin bir araya getirilmesini de çok daha kolay hale getirir. Bu endüstriyel üniversal mafsal kaplini ayrıca cıvataların gevşemesini önleyen ve yapısal gücünü %30-%50 oranında artıran yükseltilmiş bir çatal başlığı tasarımına sahiptir. Bu, dayanıklı bir SWC üniversal mafsal kaplini görevi gördüğü madenler veya şantiyeler gibi zorlu noktalar için büyük önem taşır; ağır yükler altında pes etmeden dayanır.
Verimlilik burada başka bir kazançtır: %98,6'ya varan iletim verimliliğine ulaşır. Her parçayı sürtünmeyi ve enerji israfını azaltacak şekilde tasarladık; bu nedenle, yüksek güçlü endüstriyel kurulumlarda büyük güç iletimi için verimli bir evrensel mafsal kaplini olması şaşırtıcı değil. Ve sessiz çalışır: genellikle 30-40 dB(A). Bu, dengeli dönüş ve dahili titreşim sönümleme sayesinde gürültünün sorun olduğu yerler için düşük gürültülü bir üniversal mafsal kaplinidir. Ayrıca, enerji maliyetlerini düşük tutar, böylece enerji tasarrufu sağlayan üniversal mafsal kaplini ihtiyaçları için de kutuyu kontrol eder.
Ağır makine üniversal mafsallı kaplin sistemlerinde en önemli konu şudur: SWC-WH, kuvvetleri tüm parçalarına eşit şekilde dağıtır. Hiçbir tek parça çok fazla zorlamaya maruz kalmaz, bu da daha az arıza ve daha uzun ömür anlamına gelir. Raydafon olarak, bu kaplini sadece spesifikasyonları karşılamak için üretmiyoruz; ister dayanıklı ağır makineler, ister özel endüstriyel kurulumlar olsun, işinize uygun olacak şekilde uyarlıyoruz. Sisteminizin daha sorunsuz çalışmasını veya daha uzun süre dayanmasını sağlamak için ince ayar yapmak istiyorsanız ekibimizle konuşmanız yeterli; ihtiyacınıza tam olarak uyan bir kurulum elde etmenize yardımcı olacağız.
⭐⭐⭐⭐⭐ Zhang Wei, Makine Mühendisi, Beijing Industrial Machinery Co., Ltd.
Raydafon'un SWC-WH Esnek Kaynaksız Tip Üniversal Kaplinini birkaç aydır üretim ekipmanımızda kullanıyoruz ve istikrarlı bir performans sergiliyor; özellikle de makinelerimizi yüksek yükleri kaldırmaya zorladığımızda. Gerçekten takdir ettiğim şey sağlam yapısıdır: Diğer parçaların bocalamaya başlayabileceği uzun, zorlu vardiyalarda bile bu bağlantı işlerin düzgün çalışmasını sağlar; rastgele titreşimler olmaz, tüm hattımızı bozan ani arızalar olmaz.
Kurulum da çok kolay oldu. Ekibimizin karmaşık adımları çözmek için saatler harcamasına gerek yoktu; hızlı bir şekilde monte ettik ve o zamandan beri ince ayar yapmak zorunda kalmadık. Bizimki gibi ağır hizmet dişlileri için güvenilirlik ve kalite tartışılamaz ve bu kaplin her iki kutuyu da kontrol eder. Raydafon burada güvenebileceğimiz bir ortak olduğunu kanıtladı; bu ürünün dayanıklılığından gerçekten memnunuz.
⭐⭐⭐⭐⭐ John Smith, Fabrika Müdürü, Florida Üretim, ABD
Raydafon'un SWC-WH bağlantısını birkaç ay önce Florida tesisimizde kullanıma sundum ve bu tam olarak ihtiyacımız olan şeydi; basit, sorunsuz ve sürekli etkili. Güç iletiminin sabit kalması üretimimizin temposunu korumanın anahtarıdır ve bakım için bir kez bile dokunmamıza gerek kalmadı. Bu bizim için büyük bir kazanç; Parçaları tamir etmeye daha az zaman ayırmak, işin yapılmasına daha fazla zaman ayırmak anlamına gelir.
Makineleri yüksek stres altında yoğun bir şekilde çalıştırdığımızda bile, bu bağlantı geri adım atmıyor, sadece yoluna devam ediyor. Kurulum da basitti; Teknisyenlerimiz kısa sürede kurulumu tamamladı. Peki bu performansı makul bir fiyatla eşleştirdiğinizde? Bu sağlam bir değer. Ayrıca Raydafon'un müşteri desteği, kısa bir sorumuz olduğunda birinci sınıftı; bize hızla geri döndüler. Hiç şüphe yok ki ürünlerini kullanmaya devam edeceğiz.
⭐⭐⭐⭐⭐ Roberto Silva, Operasyon Direktörü, São Paulo Mühendislik Çözümleri, Brezilya
Raydafon ile bir süredir ortaklık yapıyoruz ancak SWC-WH Flexsiz kaplinleri operasyonlarımızda gerçekten göze çarpıyor; değerini defalarca kanıtladı. İlk fark ettiğiniz şey sağlam yapısıdır; uzun süre dayanacak şekilde üretildiğini hissediyor ve bu da makinelerimizde güvenilir performans anlamına geliyor.
Bu kapline geçmeden önce, yanlış hizalama sorunlarından kaynaklanan sık sık arıza süreleri ve eski parçalarımızın erken aşınmasıyla uğraşıyorduk. Şimdi? O sorunlar ortadan kalktı. Verimlilik açısından büyük bir artış sağlayan kesinti süremizi oldukça azalttı. Ve kurulum? Son derece kolay; ekibimiz kurulum sorunlarını gidermekle zaman kaybetmedi. Güvenebilecekleri güç aktarım parçalarına ihtiyaç duyan herhangi bir şirket için bu, hiç düşünmeden yapılır. Kesinlikle tavsiye ederim.
⭐⭐⭐⭐⭐ Peter Müller, Teknik Sorumlu, Stuttgart Manufacturing GmbH, Almanya
Raydafon'un SWC-WH kaplinini Stuttgart üretim tesisimizde altı aydan fazla süredir kullanıyoruz ve gerçekten kusursuzdu; ciddi anlamda, tüm bu süre boyunca tek bir sorun bile çıkmadı. Tasarımı basittir, bu da kurulumu çocuk oyuncağı haline getirir; ekibimiz onu kısa sürede taktı ve kullanıma hazır hale getirdi; karmaşık adımlara veya özel aletlere gerek yoktu.
Beni gerçekten etkileyen şey kalitedir. Kaynak temiz ve güçlüdür ve malzemeler yüksek kaliteli bir his verir; işin kolayına kaçmadıklarını söyleyebilirsiniz. Düzenli kullanımda mükemmel bir şekilde dayanır ve aylarca sürekli çalıştıktan sonra bile sıfır aşınma belirtisi gösterir. Bu ürünün performansından son derece memnunuz ve gelecekteki projelerde kullanmak üzere şimdiden listemizde yer alıyor.
Adres
Luotuo Sanayi Bölgesi, Zhenhai Bölgesi, Ningbo Şehri, Çin
tel
e-posta


+86-574-87168065


Luotuo Sanayi Bölgesi, Zhenhai Bölgesi, Ningbo Şehri, Çin
Telif Hakkı © Raydafon Teknoloji Grubu A.Ş., Sınırlı Tüm Hakları Saklıdır.
Links | Sitemap | RSS | XML | Gizlilik Politikası |
